Jump to content
  • astrolabos
    astrolabos

    CAMM: Το μέλλον της μνήμης laptop έφτασε

    Οι μνήμες SO-DIMM σύντομα θα είναι παρελθόν: Η εποπτεύουσα αρχή JEDEC θα υιοθετήσει επίσημα το "CAMM Common Spec" ως το επόμενο πρότυπο μονάδας RAM για φορητούς υπολογιστές.

    Η JEDEC, η εποπτεύουσα αρχή που ορίζει τα πρότυπα RAM, βρίσκεται στη διαδικασία δημιουργίας νέων προδιαγραφών για την αντικατάσταση των βασικών SO-DIMM που χρησιμοποιούνται εδώ και 25 χρόνια, σύμφωνα με το μέλος της επιτροπής JEDEC και τον ανώτερο διακεκριμένο μηχανικό της Dell, Tom Schnell.

    Ο Schnell δημιούργησε στην πραγματικότητα την αρχική σχεδίαση της CAMM —ή Compression Attached Memory Module— για την Dell πέρυσι. Το πρότυπο CAMM της JEDEC θα βασίζεται στο σχέδιο CAMM, αλλά είναι πιθανό το τελικό προϊόν να είναι κάπως διαφορετικό, καθώς θα αναπτύσσεται από τις εταιρίες.

     

    CAMM-32GB_F.webp

     

    Η υιοθέτηση νέων προτύπων φαίνεται να πήγε καλά και η JEDEC φαίνεται να τα κατάφερε αρκετά καλά στο να συντονίσει τα μέλη της. Στην πραγματικότητα, είπε ο Schnell, η αποδοχή πήγε αρκετά καλά με τις 20 περίπου εταιρείες στην ομάδα εργασίας να το ψήφισαν.

    «Έχουμε ομόφωνη έγκριση της προδιαγραφής 0,5», είπε ο Schnell στο PCWorld. Ο Schnell είπε ότι το JEDEC στοχεύει το δεύτερο εξάμηνο του 2023 για να οριστικοποιήσει την προδιαγραφή 1.0, με συστήματα που βασίζονται σε CAMM να κυκλοφορήσουν μέχρι το επόμενο έτος.

    Ποιες είναι οι εταιρείες που το ψήφισαν; Ο Schnell δεν μπορεί να πει, καθώς αυτό εναπόκειται σε κάθε μέλος να το αποκαλύψει, αλλά η ομάδα καλύπτει το εύρος των προμηθευτών, από SoC, συνδέσεις, έως OEM, και όλοι ψήφισαν ομόφωνα για την υιοθέτηση του CAMM Common Spec, χωρίς διαφωνούντες. Υπάρχουν επί του παρόντος 332 εταιρείες εισηγμένες στο JEDEC, από την Apple έως τη ZTE, η καθεμία που εμπλέκεται σε διαφορετικές πτυχές της μνήμης σε διαφορετικούς κλάδους.

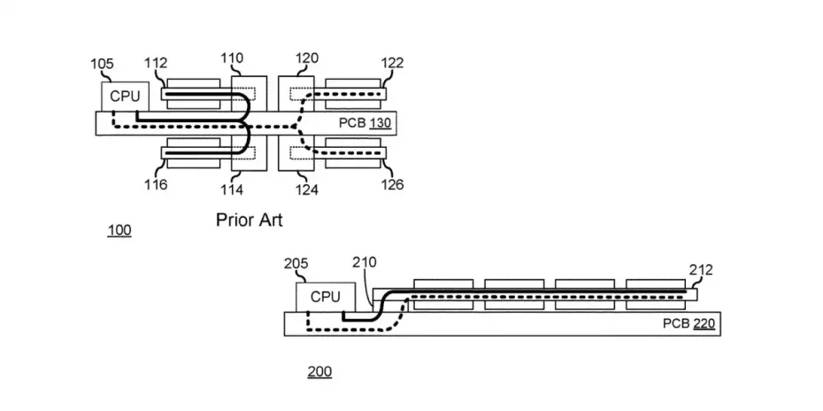
    Για όσους δεν το έχουν ακολουθήσει, η Dell παρουσίασε τη σχεδίασή της CAMM τον Απρίλιο του 2022 με στόχο να αντικαταστήσει την παλιά σχεδίαση SO-DIMM δεκαετιών που έχει χρησιμοποιηθεί στους περισσότερους φορητούς υπολογιστές παιχνιδιών και σταθμών εργασίας μέχρι τώρα. Το κύριο πλεονέκτημα της CAMM είναι ότι επιτρέπει μεγαλύτερη πυκνότητα μνήμης, ενώ ταυτόχρονα μπορεί να επιτύχει σε όλο και μεγαλύτερες ταχύτητες ρολογιού.

    Μιας και η τεχνολογία της SO-DIMM φτάνει σύντομα σε «τοίχο» των DDR5/6400 Mhz. Ο Schnell είπε ότι η προδιαγραφή CAMM απέχει πολύ από το να έχει οριστικοποιηθεί, αλλά οι πρώτες μονάδες JEDEC CAMM θα πρέπει να ξεκινήσουν ακριβώς εκεί που τελειώνει το SO-DIMM, στα 6400 Mhz.

     

    CAMM_Patent.webp

     

    Όταν η Dell εισήγαγε για πρώτη φορά το CAMM, παρεξηγήθηκε κάπως ως ιδιόκτητη προδιαγραφή που θα «κλειδώσει» τους πελάτες σε ένα σχέδιο. Η Dell είπε ότι αυτή δεν ήταν ποτέ η πρόθεσή της και η γρήγορη έγκριση αυτού φαίνεται να το επιβεβαιώνει. «Η Dell είναι μια τεράστια εταιρεία, δεν είμαστε εκεί που είμαστε επειδή παίρνουμε δικαιώματα για μια πατέντα. Βασικά θέλουμε να ανακτήσουμε το κόστος της εφεύρεσης και της εφαρμογής του. Είμαστε μέρος της βιομηχανίας των υπολογιστών και η βιομηχανία των υπολογιστών είναι χτισμένη από ένα οικοσύστημα συνεργατών, προμηθευτών που τροφοδοτούνται όλοι. Ναι, η Dell κάνει μεγάλη δική μας καινοτομία στα συστήματά μας, αλλά ενσωματώνουμε επίσης πολλές καινοτομίες από πολλούς ανθρώπους», είπε ο Schnell

    Με το CAMM να βγαίνει τώρα, ο Schnell χάραξε ορισμένες πιθανές διαδρομές για το CAMM καθώς αντικαθιστά το SO-DIMM. Το DDR6 είναι ένας προφανή διαδρομή, είπε, αλλά το CAMM δεν αποκλείει ακόμα και το LPDDR6 σε μια αντικαταστάσιμη μονάδα. Το LPDDR, ή DDR RAM χαμηλής κατανάλωσης, προτιμάται εδώ και πολύ καιρό για μικρότερους και λεπτότερους φορητούς υπολογιστές καθώς και για τηλέφωνα για εξοικονόμηση ενέργειας και συνήθως συγκολλάται στη μητρική.

    Ο Schnell προβλέπει μια έκδοση του CAMM που επιτρέπει τα οφέλη απόδοσης και ισχύος του LPDDR, αλλά σε μια μονάδα που μπορεί να αντικατασταθεί και να αναβαθμιστεί. Με το JEDEC να υιοθετεί το CAMM τώρα, αυτό το μέλλον πλησιάζει.

     

     


    Πηγή
    Φωτογραφία: Dell
×
×
  • Δημιουργία...

Important Information

Ο ιστότοπος theLab.gr χρησιμοποιεί cookies για να διασφαλίσει την καλύτερη εμπειρία σας κατά την περιήγηση. Μπορείτε να προσαρμόσετε τις ρυθμίσεις των cookies σας , διαφορετικά θα υποθέσουμε ότι είστε εντάξει για να συνεχίσετε.