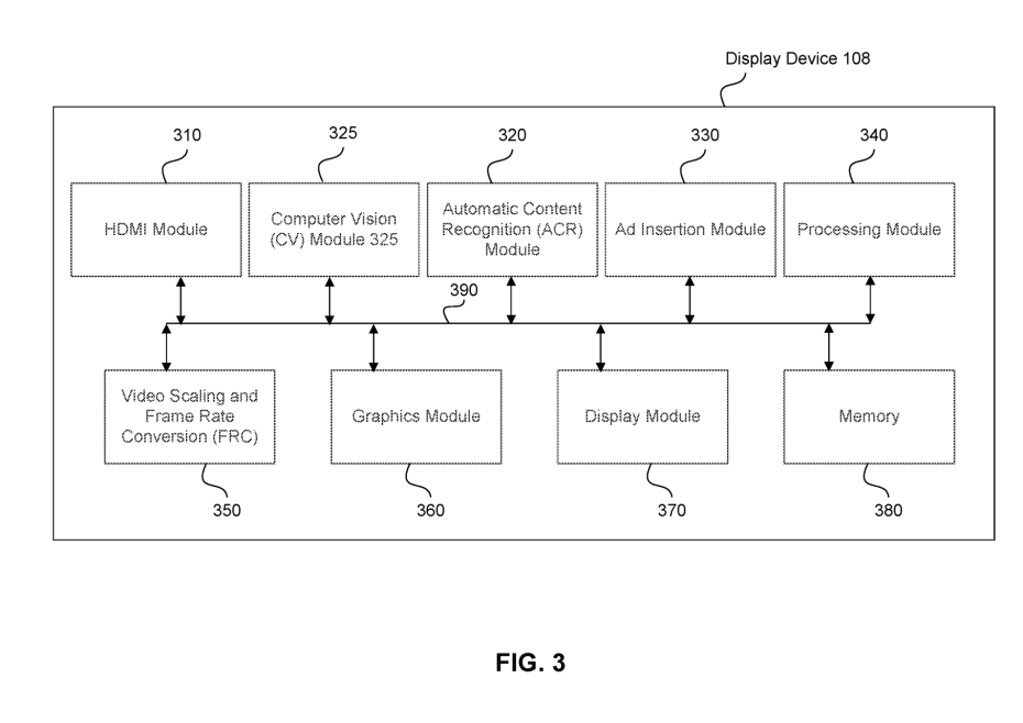
Η Roku, κορυφαίος πάροχος πλατφορμών streaming, διερευνά καινοτόμους τρόπους ενσωμάτωσης διαφημίσεων στην εμπειρία θέασης στις τηλεοράσεις της, σύμφωνα με πρόσφατη αίτηση για δίπλωμα ευρεσιτεχνίας. Η αίτηση, που ανακαλύφθηκε από την Lowpass, περιγράφει ένα σύστημα που έχει σχεδιαστεί για την προβολή διαφημίσεων σε διάφορες συσκευές που συνδέονται μέσω HDMI, επεκτείνοντας ενδεχομένως τη διαφήμιση πέρα από τα παραδοσιακά κανάλια και τις προφυλάξεις οθόνης της Roku. Ενώ η πατέντα σηματοδοτεί το ενδιαφέρον της Roku για τη διεύρυνση του διαφημιστικού της αποτυπώματος, μένει να δούμε αν η τεχνολογία θα εφαρμοστεί.
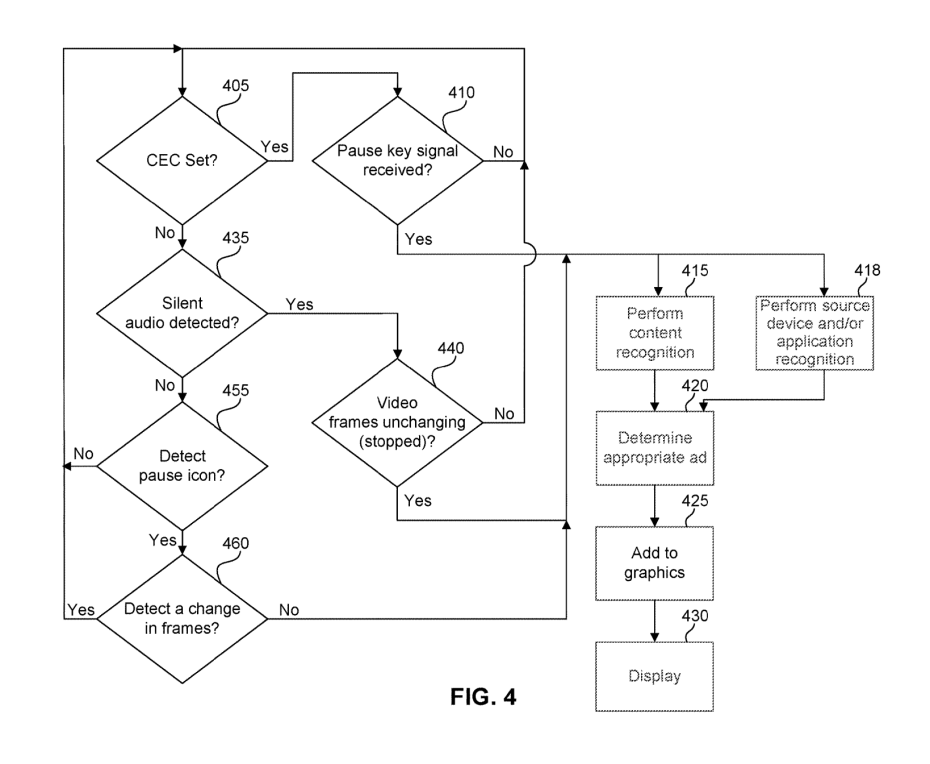
Το προτεινόμενο σύστημα θα ανιχνεύει το περιεχόμενο που βρίσκεται σε παύση με διάφορα μέσα, όπως στατικά καρέ βίντεο ή την παρουσία συμβόλων παύσης, και θα επικαλύπτει σχετικές διαφημίσεις με βάση τα μεταδεδομένα που αναλύονται. Η εξέλιξη αυτή υποδηλώνει τη φιλοδοξία της Roku να αξιοποιήσει το περιεχόμενο που έχει τεθεί σε παύση σε μια σειρά συσκευών, συμπεριλαμβανομένων των cable box, των κονσολών παιχνιδιών και των συσκευών ροής. Ωστόσο, η σκοπιμότητα και η υποδοχή μιας τέτοιας λειτουργίας παραμένουν αβέβαιες, με πιθανές προκλήσεις, όπως το κόστος υλοποίησης και οι αντιδράσεις των χρηστών.
Ενώ η πατέντα υπογραμμίζει τη στρατηγική εστίαση της Roku στην αύξηση των διαφημιστικών εσόδων, η υλοποίησή της εξαρτάται από διάφορους παράγοντες, συμπεριλαμβανομένης της τεχνολογικής σκοπιμότητας και της αποδοχής από την αγορά. Η επιδίωξη της Roku για πρόσθετες τοποθετήσεις διαφημίσεων ευθυγραμμίζεται με τη γενικότερη στρατηγική της για την αξιοποίηση της αυξανόμενης στροφής προς πλατφόρμες ροής που υποστηρίζονται από διαφημίσεις. Το κατά πόσον αυτή η προβλεπόμενη επέκταση της τοποθέτησης διαφημίσεων θα γίνει πραγματικότητα θα εξαρτηθεί από μια πληθώρα παραγόντων, αναδεικνύοντας το δυναμικό τοπίο της διαφήμισης στην τηλεόραση συνεχούς ροής.

Recommended Comments
There are no comments to display.
Create an account or sign in to comment
You need to be a member in order to leave a comment
Create an account
Sign up for a new account in our community. It's easy!
Register a new accountSign in
Already have an account? Sign in here.
Sign In Now