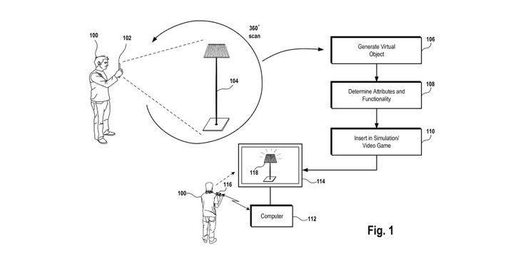
Λίγες μέρες μετά την ανακοίνωση των τεχνικών προδιαγραφών του PS VR2, η Sony ενημέρωσε σχετικά με τις λεπτομέρειες μιας πατέντας για να η οποία «θα επιτρέπει στους παίκτες να σαρώνουν αντικείμενα πραγματικού κόσμου σε εικονική πραγματικότητα, κάνοντας τα πάντα διαδραστικά στον χώρο VR», αναφέρει το Game Rant.

Αυτό το δίπλωμα ευρεσιτεχνίας δεν είναι στην πραγματικότητα κάτι καινούργιο καθώς η Sony το κατέθεσε στις 23 Ιουνίου 2021, ωστόσο, το γραφείο διπλωμάτων ευρεσιτεχνίας αμφισβήτησε κάποια κομμάτια του και το επέστρεψαν για διόρθωση και επανυποβολή. Φαίνεται ότι, από χθες, η Sony και το γραφείο ευρεσιτεχνιών έχουν αρχίσει να προχωρούν με τη διαδικασία μετά από ενημερώσεις και αναθεωρήσεις από τη την εταιρία. Σύμφωνα με τα σχέδια της ευρεσιτεχνίας, φαίνεται ότι οι παίκτες θα μπορούν να σαρώνουν μεγάλα αντικείμενα, όπως επιδαπέδια πορτατίφ. Το μόνο προαπαιτούμενο για να είναι δυνατή η σάρωση και η εισαγωγή του αντικειμένου στον ψηφιακό κόμσο (VR) είναι, ότι πρέπει να υπάρχει η δυνατότητα σάρωσης 360 μοιρών του αντικειμένου.
Όπως σημειώνει η έκθεση, το δίπλωμα ευρεσιτεχνίας εξακολουθεί να βρίσκεται υπό επεξεργασία, επομένως "δεν πρέπει να περιμένουμε ότι αυτή η τεχνολογία θα εμφανιστεί στα παιχνίδια σύντομα".

TheLab Weekly Digest
Recommended Comments
There are no comments to display.
Create an account or sign in to comment
You need to be a member in order to leave a comment
Create an account
Sign up for a new account in our community. It's easy!
Register a new accountSign in
Already have an account? Sign in here.
Sign In Now